相关文章阅读
-
暂无相关推荐!
信息来源:迈克尔离心机 发布时间:2021-04-19 阅读:1394
主机的工作原理
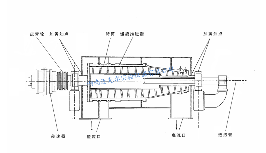
主机由主驱动电机、液力偶合器、主皮带转动装置、转鼓滚筒、差速器行星齿轮变速箱、螺旋输送器和机架等组成。主驱动电机安装在转鼓滚筒大端一侧差速器下方。工作时钻井液从进料管被连续送入,从出料口进入转鼓内,转鼓高速旋转;螺旋推料器在差速器的作用下,以一个略小于转鼓的转速旋转,转鼓与螺旋推料器构成了一副具有一定差转速、同向高速旋转的分离—输送机构。

当在比重力大几百甚至上千倍的离心力作用下,转鼓内形成一环形液池,由于固相与液相之间存在密度差,较重的固相颗粒沉降到转鼓内壁形成沉渣,在螺旋叶片与转鼓的相对运动下,沉渣被推送到转鼓的小端从固相排除口排出。内环被澄清的液相则通过螺旋形通道经溢流孔排出,从而实现固—液相连续分离的生产过程。

差速器的工作原理
差速器的功能是让螺旋和转鼓之间形成差转速,其工作原理如下图所示。差速器外壳(3)随同离心机转鼓(2)同速旋转,辅电机通过皮带轮(4)驱动输入轴(5),两个速度经过双级行星齿轮传动合成了螺旋推料器(1)相对于转鼓的转速差,即差转速。

耦合器的工作原理
通常选用的皮带轮式液力偶合器为限矩型液力偶合器,结构和原理如下图所示。泵轮(17)直接与电动机轴相连,动力通过液力介质经过涡轮(8)—与其相连的皮带轮(4)—三角胶带—从动带轮驱动转鼓旋转。由于动力是经过在泵轮(17)和涡轮(8)间作周向螺旋运动的液体介质传递给涡轮的,从而使电动机的直接负载启动工况变为柔性负载启动,因而具有负载启动平稳及隔震功能。而本偶合器为静压卸载式限矩型液力偶合器,当载荷增大、涡轮转速降低时,侧辅腔内液体的旋转速度也降低,静压头减小,工作腔中液体有一部分流入侧辅腔,致使偶合器能容减小,起到限矩作用。另一方面,由于物料变化使离心机在生产过程中超负荷运行时,泵轮和涡轮的转速差加大,导致液力偶合器内部工作油液温度升高。若过载时间长,工作油温升高到125℃时,偶合器壳体上的易熔塞(14)熔化,工作油喷出,偶合器空转,无功率输出,电动机卸载,从而起到保护离心机的作用。


当离心机过载或螺旋推料器意外卡住时,过载保护装置动作,差速器带轮空转,从而保护了差速器和螺旋推料器。同时,通过其杠杆推动行程开关的凸轮,使电气控制系统动作,切断电源,整机停止运转。过载装置如下图所示:

400-006-9722 0731-84830130
长沙高新开发区麓谷街道谷苑路426号三和智汇园10栋
湖南迈克尔实验仪器有限公司 版权所有 湘ICP备16015322号
微信公众号